热门关键词: 机器人电机复印机电机照相机电机剃须刀电机玩具电机

万至达电机通过发展耐磨材料技术、加工工艺优化技术、润滑技术、装配技术、可靠性及寿命检测技术以及传动机理的探索,发展适合医疗机器人应用的高效率、低重量、长期免维护的系列...
了解更多 >
剃毛器主要是靠内部的电机带动主轴上的偏心轮再带动往复运动的刀头来进行毛发修剪的,其原理和剃须刀差不多,但是会更舒适、安全和顺滑。为了获得足够的动力,刮毛器电机大多选用...
了解更多 >
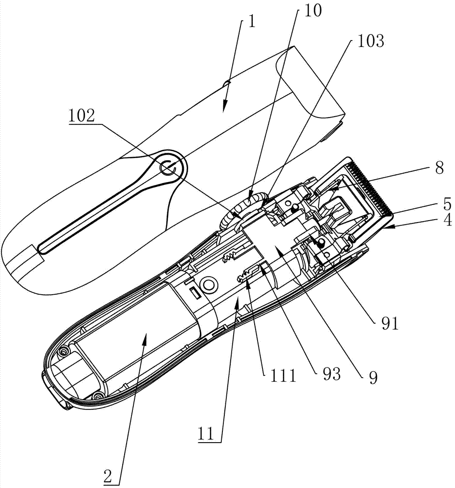
万至达电机专门针对理发剪研发生产了有刷和无刷两个系列的电机产品,分别是OT-290系列有刷电机和OT-EM2838系列无刷电机。这两个系列的电推剪电机是通过万至达电机非常多的市场考察...
了解更多 >
微型电机的应用可以说是非常广泛,毫不夸张的讲,每个人的生活中每天至少围绕着几十个微型电机,小到手机振动,大到空调风扇,都离不开微型电机的应用。微型电机的用途主要有以下...
了解更多 >
深圳市万至达电机制造有限公司有着丰富的汽车用减速齿轮箱开发经验,宝马汽车便是我们的客户之一,主要围绕汽车的齿轮传动部分为客户做设计开发,产品主要涉及电动尾门、电动门窗...
了解更多 >
颈部按摩器电机主要结构由传动电机、齿轮箱组装而成,具备减速功能。传动电机输出速、低力矩转速,齿轮箱连接传动电机,将传动电机输出的速转速降低,同时提升力矩,从而带动按摩...
了解更多 >
深圳万至达电机20年来一直致力于微型步进电机的研发生产,是众多自动胰岛素注射器厂家的电机供应商,我们还可以根据不同客户的需要定制开发胰岛素注射器电机及其它医疗设备用电机...
了解更多 >
深圳万至达电机生产的HUD抬头显示器电机,可适应抬头显示屏日新月异的市场需求,我们可以根据客户的需求提供HUD和其它汽车零部件传动齿轮箱的按需定制。
了解更多 >
通道翼闸是最常用的通道管理设备之一,道闸广泛应用于机场、地铁站、车站、码头、景点、公园、单位人行通道等,是行人高频率出入通道的理想管理疏导设备。道闸的工作原理比较简单...
了解更多 >
基站电调天线电机主要结构是由传动电机、减速齿轮箱组装而成的电机减速机一体机,具备减速调节功能;传动电机提供输出速、低力矩转速,齿轮箱连接传动电机,将传动电机输出的速转...
了解更多 >
深圳万至达电机对剃须刀电机不断进行优化改良,让老产品焕发新生命。目前,使用在剃须刀里的电机大多数还是180电机,市面上的此款180电机普便存在噪音大、异音、变音以及振动大等...
了解更多 >
电动卷发棒的核心传动装置是一款微型减速电机,主要传动结构由驱动电机、齿轮箱(减速器)组装而成的减速电机,不同规格、型号的卷发棒采用不同的减速电机作为驱动源,通常采用定...
了解更多 >
为了解决以上出现的问题所带来的烦恼,深圳万至达电机研发了无刷电动螺丝刀电机,好处就寿命长,无噪音,更轻巧等。
了解更多 >
深圳万至达电机专业研发生产物流机器人电机20年,能够为各种机器人提供电机定制开发服务。
了解更多 >
医用多功能护理床电动推杆是一种将电动机的旋转运动转变为推杆的直线往复运动的电力驱动装置。可用于各种简单或复杂的工艺流程中做为执行机械使用,以实现远距离控制、集中控制或...
了解更多 >
曲线锯,人们生活工作中使用非常多的一款电动工具,它的应用非常广泛,木头、地砖甚至是金属都可以用它来切割。曲线锯结构上主要由曲线锯电机、减速齿轮箱、往复杆、平衡板、底板...
了解更多 >
新一代家用投影仪具备智能调节自动对焦功能,实现智能对焦调节传动的是一款定制化微型减速电机齿轮箱,也称为投影仪电机,主要传动结构由微型电机、齿轮箱(减速器)组装而成的小...
了解更多 >
深圳市万至达电机有限公司专业生产微电机20年,公司生产的电吹风电机价格实惠,品质有保证,可以根据客户需要定制开发。
了解更多 >
铸剑为军,砥砺奋进。2019年7月27日,深圳万至达年中研讨会及团建活动在沙井海上田园顺利召开,万至达总经理张万用,各部门负责人,以及全体业务精英齐聚一堂。本次会议主要总结了...
了解更多 >
一直以来大家印象中的空调会比较费电,这是因为空调的电机需要较多的电能运行,所以长久以来,空调的升级方向都在于对空调电机的研究。而近年来“直流”就成了空调电机产品结构升...
了解更多 >